各学院:
为进一步简化毕业生就业签约手续,提升就业管理服务水平,根据上级部门有关要求,我校2024届毕业生自10月27日起开始全面使用教育部“全国高校毕业生毕业去向登记系统”(以下简称“登记系统”)进行签约和毕业去向登记,现就有关事项通知如下:
一、登录方式
1.毕业生
方式一:微信关注绑定“国家大学生就业服务平台”公众号,点击“去向登记”直接登录。
方式二:搜索登记系统网址(https://dj.ncss.cn/),点击“毕业生去向登记”,使用学信网账号登录。
2.用人单位
使用PC端搜索登记系统网址(https://dj.ncss.cn/),点击“用人单位在线签约”,注册登录后与毕业生进行签约。
二、签约方式和流程
1.签约方式一:与用人单位线上签约
此功能适用于签约单位已经在登记系统注册,可以与单位线上签约的毕业生。
线上签约流程:用人单位通过登记系统向毕业生发起签约邀请,经毕业生同意、院系及学校审核通过后,线上签约完成。

线上签约流程图
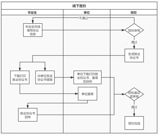
2.签约方式二:向学校申请电子就业协议书线下签约
此功能适用于签约单位没有在登记系统注册,无法与单位线上签约的毕业生。
线下签约流程:毕业生通过登记系统在线申请电子就业协议书,需填写就业协议信息,经院系及学校协议审核通过后,生成电子就业协议书。毕业生或用人单位下载打印电子就业协议书,单位盖章后,由毕业生或单位回传电子就业协议书图像,经院系及学校签约审核通过后,线下签约完成。

线下签约流程图
三、其他说明
1.考虑到签约流程的便捷度,建议毕业生采用签约方式一与用人单位线上签约。各院系、毕业生可将“附件2”转发给用人单位,引导其完成登记系统的账号注册。
2.线上签约和纸质三方协议书具备同等效力,登记系统开放前已与用人单位签订纸质三方协议书的毕业生不需要重复签约,只需登录登记系统点击“签就业协议书就业-已签订纸质协议补充登记”上传纸质协议图像,经院系及学校签约审核通过后,完成协议补登手续。
3.毕业生只能与一家用人单位签约,一旦同意签约后,如要变更签约单位,需先与当前签约单位办理解约手续。请毕业生认真考虑,慎重签约。
4.就业协议中关于档案寄送的相关信息非常重要,关系到毕业生离校时档案能否正确邮寄,填写签约信息时请务必提前了解当地或生源地落户及存档政策,保证信息填写完整准确。
5.登记系统数据审核需院校两级共同完成。即每个毕业生申请新签约、填报去向登记、解约以及作废时,审核需“先院系再校级审核”。毕业生签约提交后,可联系院系负责就业的老师先审核,学校审核一般会在1-3个工作日内完成。
6.如有其它疑问,请及时联系校学生就业指导中心。
联系人:刘老师0592-6180971、白老师0592-6180536
附件:
1.
附件1 全国高校毕业生毕业去向登记系统操作指南(毕业生).pdf
2.
附件2 全国高校毕业生毕业去向登记系统操作指南(用人单位).pdf
3.
附件3 全国高校毕业生毕业去向登记系统操作指南(学校、院系).pdf
集美大学学生就业指导中心
2023年10月24日